一级注册建筑师考试是从事建筑设计及相关业务活动的专业技术人员参考的一个难度很大的考试,建筑师需要兼备艺术家的审美眼光和工程师的力学知识,还需要具体不错的沟通能力。考试的内容包括场地设计、建筑方案设计、建筑技术设计,经济、施工与设计管理、设计前期与场地设计、建筑材料与构造等等。上学吧一级注册建筑师考试题库汇集了不少试题,为您学习刷题提供支持,现在就点击安装APP刷题。以下为试卷的详细内容:
一、单项选择题参考答案见试卷末尾
1、当构件截面由( )控制时,选用低合金钢可比选用强度较低的碳素钢节省钢材。
A.稳定性
B.刚度
C.强度
D.疲劳
2、某高层建筑有一层地下室,层高4.5m,地下水水位为-1.0m,不考虑人防的情况下,则地下室外墙厚度宜为( )。
A.300~400mm
B.400~500mm
C.150~200mm
D.600mm左右
3、下列关于混凝土的收缩性能的叙述中,哪一项是正确的?( )
A.水泥用量越多,收缩越大
B.水灰比越大,收缩越大
C.水泥标号越高,收缩越小
D.环境温度越低,收缩越大
4、在其他条件相同的情况下,钢筋混凝土框架结构的伸缩缝最大间距比钢筋混凝土剪力墙结构的()。
A.大
B.小
C.相同
D.不能肯定
5、按抗震设计时,钢筋混凝土构造柱、芯柱、圈梁等的混凝土强度等级不应低于()。
A.C25
B.C30
C.C20
D.C40
6、钢筋混凝土悬臂构件的允许挠度值是相同长度两端支承的受弯构件允许挠度值的( )。
A.1.5倍
B.1.0倍
C.2.0倍
D.0.5倍
7、钢柱及钢管混凝土柱的防火性能比较,下列哪一种说法是正确的?()
A.钢管混凝土柱比钢柱的耐火极限高
B.钢管混凝土柱比钢柱的耐火极限低
C.两者的耐火极限相同
D.钢管混凝土柱不必做防火处理
8、对于人流可能密集的楼梯,其楼面均布活荷载标准值取值为( )。
A.2.5kN/m2
B.3.0kN/m2
C.2.0kN/m2
D.3.5kN/m2
9、下列有关混凝土保护层作用的说明,哪一项是不对的?( )
A.防锈
B.增强黏结力
C.防火
D.便于装修
10、在选择建筑场地时,以下叙述不正确的是哪一项?()
A.对不利地段,应提出避开要求;当无法避开时应采取有效的措施
B.严禁在危险地段建造甲、乙类的建筑
C.对抗震有利、不利和危险地段做出综合评价
D.可在危险地段上建造丙类的建筑
11、现浇钢筋混凝土框架结构,7度设防时最大适用高度为()。
A.为50m
B.多加框架柱后,可不受限
C.不受限
D.为70m
12、抗震设计时,非结构构件亦应抗震设防,建筑非结构构件包括下列哪几类?()
A.附属结构构件、装饰物、女儿墙和高低跨封墙
B.装饰物、围护墙和隔墙,顶棚
C.装饰物、围护墙、隔墙
D.附属结构构件、装饰物、围护墙和隔墙
13、下列论述符合《建筑结构荷载规范》(GB50009-2012)的要求的是( )。
A.不上人屋面均布活荷载标准值为0.7kN/m2
B.上人屋面均布活荷载标准值为1.5kN/m2
C.斜屋面活荷载标准值是指水平投影面上的数值
D.屋顶花园活荷载标准包括花圃土石等材料自重
14、如图所示桁架结构中。零杆数量为( )。
A.2根
B.3根
C.4根
D.5根
15、在悬索结构中,索一般仅产生()。
A.压力
B.剪力
C.拉力
D.弯矩
16、受压构件的长细比不宜过大,一般应控制在l/b≤30,其目的是下列哪一项?( )
A.防止斜截面受剪破坏
B.防止影响其稳定性或使其承载力降低过多
C.防止受拉区混凝土产生水平裂缝
D.防止正截面受压破坏
17、用未经焙烧的土坯、灰土和夯土作承重墙体的房屋及土窑洞、土拱房,只能用于()。
A.无抗震设防的地区
B.抗震设防烈度为6度及以下的地区
C.抗震设防烈度为6~7度及以下的地区
D.抗震设防烈度为6~8度及以下的地区
18、关于多层砌体房屋的纵横向砌体抗震墙的布置,下列哪项的要求是错误的?( )
A.宜均匀对称,沿平面内宜对齐,沿竖向应上下连续;且纵横向墙体的数量不宜相差过大
B.平面轮廓凹凸尺寸,不应超过典型尺寸的50%;当超过典型尺寸的25%时,房屋转角处应采取加强措施
C.楼板局部大洞口的尺寸不宜超过楼板宽度的30%,且不应在墙体两侧同时开洞
D.房屋错层的楼板高差超过800mm时,应按两层计算;错层部位的墙体应采取加强措施
19、砌筑潮湿房间的砖墙,其砂浆最低强度等级为( )。
A.M2.5
B.M5
C.M1
D.M10
20、如图所示一圆球,重量为P,放在两个光滑的45°斜面上静止不动,产生的RA、RB为( )。
A.RA=RB=1/2P
B.RA=RB=√2P
C.RA=RB=√2/2P
D.RA=RB=√2/4P
21、以下对抗震设防地区地基土的液化的叙述,何者是正确的?()Ⅰ当地基土中存在液化土层,桩基的桩端应置于液化土层上面一定距离处Ⅱ当地基土中有饱和砂土或饱和粉土时,需要进行液化判别Ⅲ存在液化土层的地基,应根据其液化指数划定其液化等级Ⅳ对设防烈度7度及7度以下,可不考虑液化判别和地基处理
A.Ⅰ
B.Ⅱ、Ⅲ
C.Ⅳ
D.Ⅰ、Ⅳ
22、关于抗震设计规范中规定的应进行弹塑性变形验算的结构类型与范围,下列不正确的是()。
A.8度Ⅲ、Ⅳ类场地和9度时,高大的单层钢筋混凝土柱厂房的横向排架
B.7~9度时楼层屈服强度系数小于1.0的钢筋混凝土框架结构
C.甲类建筑和9度时乙类建筑中的钢筋混凝土结构和钢结构
D.高度大于150m的结构
23、下列有关荷载标准值、设计值、准永久值、荷载效应组合的叙述中,哪一种是错误的?( )
A.荷载准永久值小于荷载标准值(积灰荷载除外)
B.对于承载能力极限状态,应采用荷载效应的基本组合进行设计;对于正常使用极限状态,应根据不同的设计要求,分别采用荷载的短期效应组合和长期效应组合进行设计
C.荷载设计值大于荷载标准值
D.短期效应组合和长期效应组合的荷载设计值应考虑荷载分项系数
24、基本雪压的确定条件是( )。
A.当地低洼地面上统计所得的30年一遇的最大积雪自重
B.当地一般空旷平坦地面上统计所得的50年一遇的最大积雪自重
C.建筑物使用期内可能遇到的最大积雪自重
D.当地一般空旷平坦地面上统计所得的30年一遇的最大积雪自重
25、对各类结构进行多遇地震作用下的抗震变形验算时,下列各类结构的最大的弹性层间位移限值中正确的是哪一项?()
A.钢筋混凝土框架-抗震墙1/850
B.筒中筒1/1200
C.钢筋混凝土框架1/500
D.钢筋混凝土框支层1/1000
26、轻型木结构中,用于对强度、刚度有较高要求而对外观只有一般要求的构件,其材质的最低等级要求为( )。
A.Ⅱ级
B.Ⅲ级
C.Ⅰ级
D.Ⅳ级
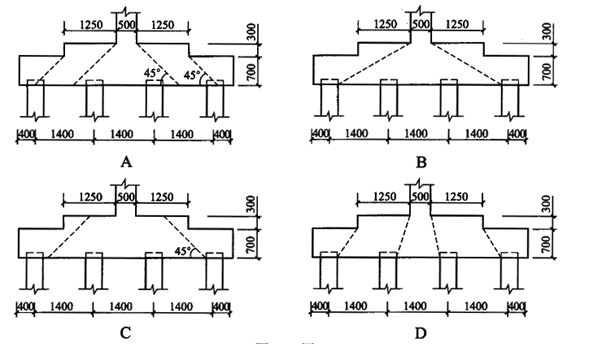
27、下列关于柱下桩基础独立承台的受冲切破坏椎体的图示正确的是( )。
28、多层停车库的楼面均布活荷载是按( )确定的。
A.车的吨位大小
B.楼盖结构形式
C.车库的规模
D.固定值5kN/m2
29、一建造于非地震区,高度为160m的现浇钢筋混凝土高层建筑,从结构上的合理性出发,最好采用下列哪一种结构体系?()
A.筒中筒结构
B.框架一剪力墙结构
C.剪力墙结构
D.框架一筒体结构
30、8度地震区的水运建筑中,下列()不属于乙类建筑。
A.导航建筑
B.国际重要客运站
C.水运通信建筑
D.科研楼
31、木材的防腐分为构造防腐和( )。
A.保温措施防腐
B.化学防腐
C.干燥处理防腐
D.油漆防腐
32、抗震设计时,房屋高度是指下列哪一个高度?()
A.18.300m
B.22.000m
C.18.000m
D.22.300m
33、现场两根Q345B钢管手工对接焊,应选择下列哪种型号的钢材与之相适应?( )
A.E43
B.E50
C.E55
D.ER55
34、如图所示空间桁架,杆cd轴力为( )。
A.2kN
B.4kN
C.2√2kN
D.√5kN
35、多层砌体房屋其主要抗震措施是下列哪一种?()
A.限制房屋高宽比
B.设置构造柱和圈梁
C.限制高度和层数
D.限制墙段的最小尺寸,并规定横墙最大间距
36、对于钢筋混凝土房屋,当必须设置防震缝时,其宽度应根据哪些因素确定?()Ⅰ.结构类别Ⅱ,房屋高度Ⅲ.设防烈度Ⅳ.场地类别
A.Ⅰ、Ⅱ、Ⅳ
B.Ⅱ、Ⅲ、Ⅳ
C.Ⅰ、Ⅱ、Ⅲ
D.Ⅰ、Ⅱ、Ⅲ、Ⅳ
37、下列不属于锯材的木材种类是( )。
A.板材
B.规格材
C.方木
D.胶合材
38、钢筋混凝土建筑的抗震等级与下列哪一项指标无关?()
A.房屋的高度
B.抗震设防烈度
C.房屋的结构类型
D.地基的液化等级
39、有抗震设防要求的框架结构的砌体填充墙,当墙长超过层高的多少倍时,宜设置钢筋混凝土构造柱?()
A.2.5
B.3
C.2
D.4
40、木材具有良好的塑性,下列不正确的是( )。
A.标准小试件的顺纹抗压强度极限为受拉时的40%~50%
B.木材的抗弯强度极限介于抗压和抗拉强度极限之间
C.木结构构件的受压工作要比受拉工作可靠得多
D.木材的抗拉强度,横纹与顺纹几乎相等
41、在冻土地基上的不采暖房屋,其基础的最小埋深,当土的冻胀性类别为强冻胀土时,应为( )。
A.深于冰冻深度
B.等于冰冻深度
C.浅于冰冻深度
D.与冰冻深度无关
42、下面所列构件,不属于非结构构件的是( )。
A.女儿墙、雨篷
B.贴面、装饰柱、顶棚
C.围护墙、隔墙
D.砌体结构中的承重墙、构造柱
43、图示钢结构支座对位移的约束为( )。
A.允许转动
B.允许上下移动
C.各向均约束
D.允许左右移动
44、对于有抗震设防要求的砌体结构房屋,门窗洞处不应采用砖过梁,6~8度设防时钢筋混凝土过梁支承长度不应小于下列何值?( )
A.120mm
B.160mm
C.200mm
D.240mm
45、主要承重结构按承载能力极限状态设计时,考虑偶然事件作用的结构可靠指标可( )。
A.适当提高
B.保持不变
C.适当降低
D.显著提高
46、7度设防地区采用时程分析的房屋高度范围是()。
A.>80m
B.>120m
C.>100m
D.>60m
47、结构受力如图,B点转角处于哪种状态?( )
A.顺时针转动
B.逆时针转动
C.无转动
D.不能确定
48、钢结构设计规范中推荐使用的钢材为( )。
A.25MnSi,Q235
B.Q345,B3F,BY3F
C.Q235,Q345,Q390,Q420
D.45号钢,Q235,15MnTi
49、在木桁架结构中,当采用方木作为下弦时,其桁架跨度不应大于( )。
A.15m
B.12m
C.10m
D.8m
50、下列各钢筋混凝土剪力墙结构布置的"原则"中,哪一项是错误的?()
A.较长的剪力墙可开洞后设连梁,连梁应有足够的刚度,不得仅用楼板连接
B.剪力墙的门窗洞口宜上下对齐,成列布置
C.剪力墙应双向或多向布置,宜拉通对直
D.墙肢截面高度与厚度之比不宜过小
51、对于二级抗震墙,两端有翼墙或端柱时的墙板厚度,除不应小于层高的1/20外,还不应小于()mm。
A.140
B.160
C.120
D.200
52、验算施工阶段砂浆尚未硬化的新砌砌体高厚比时,允许高厚比对墙取以下何值?( )
A.11
B.12
C.13
D.14
53、混凝土的水灰比越大,水泥用量越多,则混凝土的徐变及收缩值将如何变化?( )
A.减小
B.基本不变
C.增大
D.难以确定
54、以下属于混凝土强度等级的依据的是( )。
A.立方体抗压强度标准值
B.棱柱体抗压强度标准值
C.混凝土轴心抗压强度标准值
D.混凝土轴心抗拉强度标准值
55、关于钢筋混凝土结构柱内纵向钢筋的配置规定,下列哪一项是不正确的?()
A.截面边长大于400mm的柱,纵向钢筋间距不宜大于100mm
B.柱总配筋率不应大于5%;剪跨比不大于2的一级框架的柱,每侧纵向钢筋配筋率不宜大于1.2%
C.柱的纵向钢筋宜对称配置
D.边柱、角柱及抗震墙端柱在小偏心受拉时,柱内纵筋总截面面积应比计算值增加25%
56、以下关于钢筋混凝土梁的变形及裂缝的叙述,哪一种是错误的?( )
A.由于梁的类型不同,规范规定了不同的允许挠度值
B.处于室内环境下且年平均相对湿度大于60%的梁,其裂缝宽度允许值为0.3mm
C.进行梁的变形和裂缝验算是为了保证梁的正常使用
D.悬臂梁的允许挠度较简支梁允许挠度值为小
57、关于钢筋混凝土框架结构梁的截面尺寸,下列哪一项的要求是不恰当的?()
A.截面高度不宜小于500mm
B.截面高宽比不宜大于4
C.截面宽度不宜小于200mm
D.净跨与截面高度之比不宜小于4
58、屋架受力如图所示,对杆件1、2、3产生的内力,拉为(+),压为(-),正确的答案是下列哪一组?( )
A.(-)(+)(+)
B.(-)(-)(+)
C.(+)(-)(-)
D.(+)(-)(+)
59、如图所示结构中杆I的内力为下列何值?( )
A.拉力P
B.拉力√2P
C.压力P
D.压力√2P
60、钢构件失去稳定性的主要原因在于( )。
A.构件刚度不足
B.截面上最大拉应力超过屈服强度
C.构件受压
D.截面上最大压应力超过屈服强度
61、图示结构,如AB杆均匀降温30°,则AB杆出现什么内力?( )
A.出现受拉轴力
B.出现受压轴力
C.出现剪力
D.出现弯矩
62、下列关于钢筋混凝土圈梁的构造要求中,正确的是( )。
A.高度不应小于100mm,纵向钢筋不应少于4φ10
B.高度不应小于200mm,纵向钢筋不应少于4φ14
C.纵向钢筋不应少于4φ8,箍筋间距不应大于200mm
D.纵向钢筋不应少于4φ10,箍筋间距不应大于300mm
63、热轧钢筋经过冷拉后受力性能发生变化,关于冷拉钢筋受力性能的说法,下列不正确的是( )。
A.受压强度提高
B.塑性性能下降
C.受拉强度提高
D.仍为软钢
64、以下关于钢筋混凝土柱构造要求的叙述中,哪种是不正确的?( )
A.纵向钢筋净距不小于50mm
B.箍筋应形成封闭
C.纵向钢筋沿周边布置
D.纵向钢筋配置越多越好
65、关于高层建筑箱形基础设计,下列说法不正确的是( )。
A.箱形基础的外墙应沿建筑的周边布置,可不设内墙
B.箱形基础的高度应满足结构的承载力和刚度要求,不宜小于3m
C.箱形基础的底板厚度不应小于300mm,顶板厚度不应小于200mm
D.箱形基础的底板和顶板均应采用双层双向配筋
66、关于砌体结构房屋的防震缝设置,下列哪项要求是错误的( )?
A.房屋立面高差在4m以上
B.房屋有错层,且楼板高差大于层高的1/4
C.各部分结构刚度截然不同
D.各部分结构质量截然不同
67、下列关于地基土的表述中,错误的是( )。
A.碎石土为粒径大于2mm的颗粒含量超过全重50%的土
B.砂土为粒径大于2mm的颗粒含量不超过全重50%,粒径大于0.075mm的颗粒含量超过全重50%的土
C.黏性土为塑性指数Ip小于10的土
D.淤泥是天然含水量大于液限、天然孔隙比大于或等于1.5的黏性土
68、有甲、乙两栋建筑物,平面尺寸与立面高度见图(Ⅰ)、图(Ⅱ)。在其他条件相同的情况下,分别作用于甲、乙建筑物上的风荷载总值F与F之间的关系是( )。
A.F>F
B.F=F
C.F
D.不能确定
69、当砂浆强度等级M7.5时,组合砖砌体墙的允许高厚比可取( )。
A.24
B.28
C.28.8
D.31.2
70、配筋率适中的钢筋混凝土梁,其斜截面受剪破坏时具有以下哪种特征?( )
A.脆性破坏
B.根据弯矩的大小决定是延性还是脆性破坏
C.延性破坏
D.根据荷载分布类型决定是延性还是脆性破坏
71、下列哪种民用建筑的楼面均布活荷载标准值最大?( )
A.电影院
B.舞厅
C.商店
D.展览厅
72、对于安全等级为二级,具有延性破坏的结构承载能力可靠指标允许为( )。
A.β=3.2
B.β=3.2±0.25
C.β=3.2+0.25
D.β=3.7
73、在设计计算钢柱(包括轴压和压弯构件)和钢梁的截面时,一般应考虑强度、稳定性和刚度三方面的要求,其中( )通常是控制因素。
A.稳定性
B.刚度
C.强度
D.强度和刚度
74、有抗震要求时,砌体填充墙应沿框架柱高每隔()mm距离配置拉结钢筋。
A.500~600
B.600~700
C.400~500
D.700~800
75、对于民用建筑承受静载的钢屋架,下列关于选用钢材钢号和对钢材要求的叙述中,何者是不正确的?( )
A.可选用Q345钢
B.钢材须具有抗拉强度、屈服强度、伸长率的合格保证
C.可选用Q235钢
D.钢材须具有常温冲击韧性的合格保证
76、关于板柱-抗震墙的结构布置,下列哪一项要求是错误的?()
A.房屋的周边应采用有梁框架,楼、电梯洞口周边宜设置边框梁
B.托板或柱帽根部的厚度(包括板厚)不宜小于柱纵筋直径的10倍
C.房屋高度大于12m时,墙厚不应小于200mm
D.房屋的地下一层顶板,宜采用梁板结构
77、图示结构支座计算简图,不属于固定铰支座的是( )。
A.
B.
C.
D.
78、在跨度较大的屋盖结构中,与梁相比,采用桁架的优势在于()。
A.形式美观
B.施工方便
C.受力合理并且自重轻
D.有利于屋面排水
79、以下关于钢材规格的叙述,何者是错误的?( )
A.角钢L100×10代表等边角钢,肢宽100mm,厚10mm
B.角钢L100×80×8代表不等边角钢,长肢宽100mm,短肢宽800mm,厚8mm
C.热轧钢板-600×10×12000代表钢板宽600mm,厚10mm,长12m
D.工字钢,I40、I40、140代表工字钢,高均为400mm,其下标表示腹板厚类型,其中下标为a者比b厚,b比c厚
80、如图所示一圆球,重量为P,放在两个光滑的斜面上静止不动,斜面斜角分别为30°和60°,产生的RA和RB分别为( )。
A.RA=tan30°P,RB=1/tan30°P
B.RA=1/tan30°P,RB=tan30°P
C.RA=sin30°P,RB=cos30°P
D.RA=cos30°P,RB=sin30°P
81、下列有关预应力钢筋混凝土的叙述中,哪项叙述是不正确的?( )
A.先张法适合于预制厂中制作中,小型构件
B.后张法靠锚固施加预应力
C.先张法靠钢筋与混凝土黏结力作用施加预应力
D.无黏结法预应力采用先张法
82、下图所示的结构支座计算简图,属于哪种结构支座?( )
A.可动铰支座
B.固定铰支座
C.定向可动支座
D.固定支座
83、关于框架-抗震墙结构的抗震墙厚度和边框设置,下列哪一项要求是错误的?()
A.底部加强部位的抗震墙厚度不应小于200mm且不宜小于层高或无支长度的1/12
B.有端柱时,墙体在楼盖处宜设置暗梁
C.抗震墙的厚度不应小于160mm且不宜小于层高或无支长度的1/20
D.抗震墙底部加强部位的端柱和紧靠抗震墙洞口的端柱宜按柱箍筋加密区的要求沿全高加密箍筋
84、对于有抗震要求的框架结构填充墙,下列要求中哪一项是不正确的?()
A.砌体填充墙应与框架柱用钢筋拉结
B.宜采用与框架柔性连接的墙板
C.砌体填充墙在平面和竖向的布置,宜均匀对称
D.宜采用与框架刚性连接的墙板
85、下列关于房屋建筑结构体系叙述中哪一项不符合我国现行抗震规范的要求?()
A.应避免因部分结构或构件破坏而导致整个结构丧失抗震能力或对重力荷载的承载能力
B.结构具备足够承载力时,结构的变形能力和消耗地震能量的能力可适当放宽
C.应具有明确的计算简图和合理的地震作用传递途径
D.对可能出现的薄弱部位,应采取措施提高其抗震能力
86、下列关于单层钢筋混凝土柱厂房抗震设计总体布置方面的叙述,何者是不适宜的?()Ⅰ多跨厂房采用等高厂房Ⅱ厂房采用钢筋混凝土屋架或预应力混凝土屋架Ⅲ厂房采用预制腹杆Ⅰ字形柱Ⅳ多跨厂房采用嵌砌式砌体围护墙
A.Ⅲ
B.Ⅲ、Ⅳ
C.Ⅰ、Ⅱ
D.Ⅳ
87、如图所示桁架在竖向外力P作用下的零杆根数为( )。
A.1根
B.3根
C.5根
D.7根
88、在高强度螺栓摩擦型抗剪连接中,螺栓的承载力极限状态是( )。
A.钢板孔壁被压坏
B.连接处钢板接触面间出现相对滑移
C.螺栓杆被剪坏
D.螺栓杆被剪坏同时钢板孔壁被压坏
89、设计使用年限是设计规定的结构或结构构件( )。
A.使用寿命
B.耐久寿命
C.可按预定目的使用的时期
D.不需进行大修即可按其预定目的使用的时期
90、以下有关在现浇钢筋混凝土结构中设置后浇带的叙述,何者是不适宜的?( )
A.高层主楼与裙房之间,在施工阶段设置后浇带有适应调整两者之间的沉降差的作用
B.长宽很大的上部结构每隔30~40m设置施工后浇带,是为了减少混凝土硬化过程中的收缩应力
C.在大面积筏形基础中,每隔20~40m留一道后浇带,可以减少混凝土硬化过程中的收缩应力
D.大面积基础的后浇带和上部结构的后浇带均可以在混凝土浇筑完成10天后将其填灌
91、预应力混凝土结构不宜采用下列中的哪种钢筋?( )
A.钢丝
B.热轧钢筋
C.钢绞线
D.热处理钢筋
92、下列何项与地基承载力特征值的修正无关?( )
A.基础类型
B.基础宽度
C.基础埋深
D.基础以下土的重度
93、有抗震设防要求并对建筑装修要求较高的房屋和高层建筑,应优先采用下列何种结构?()Ⅰ.框架结构Ⅱ.框架-抗震墙结构Ⅲ.抗震墙结构
A.Ⅰ或Ⅱ
B.Ⅱ或Ⅲ
C.Ⅰ
D.Ⅲ
94、在确定有抗震要求的框架结构的构件截面尺寸时,下列哪一项是错误的?()
A.梁截面高宽比不宜大于4
B.柱截面高度不宜小于500mm
C.梁截面宽度不宜小于240mm
D.净跨与截面高度之比不宜小于4
95、钢筋混凝土梁,为了减小弯曲产生的裂缝宽度,下列所述哪种措施无效?( )
A.加大纵向钢筋用量
B.加密箍筋
C.提高混凝土强度等级
D.将纵向钢筋改成较小直径
96、为减少图示结构B点的水平位移,最有效的措施是( )
A.增加AB的刚度EAAB
B.增加AC的刚度EAAC
C.增加BD的刚度EABD
D.增加CD的刚度EACD
97、钢实腹式轴心受拉构件应计算的全部内容是( )。
A.强度
B.强度及整体稳定性
C.强度、局部稳定性和整体稳定性
D.强度及长细比控制
98、抗震要求的单层砖柱厂房,关于横墙的叙述,下列哪些是正确的?()Ⅰ.厂房两端应设置非承重山墙Ⅱ.厂房两端应设置承重山墙Ⅲ.横向内隔墙宜做成抗震墙Ⅳ.横向内隔墙不宜做成抗震墙
A.Ⅱ、Ⅳ
B.Ⅰ、Ⅳ
C.Ⅰ、Ⅲ
D.Ⅱ、Ⅲ
99、在地震区选择建筑场地时,下列要求中不正确的是()。
A.不应在地震时可能发生地裂的地段来造丙类建筑
B.场地内存在地震断裂带时,应坚决避开
C.不应在滑坡、泥石流上建造乙类建筑
D.甲类建筑应建造在坚硬土上
100、一幢四层轻工业加工厂房,平面尺寸为16m×48m,布置两条同样的纵向流程生产线,楼面活载5kN/m,建设场地为非抗震设防区,风力也较小。现已确定采用现浇横向框架结构。下列各种框架布置中哪种最为合适?()
A.两跨框架,跨度8m+8m
B.两跨框架,跨度10m+6m
C.单跨框架,跨度16m
D.三跨框架,跨度6m+4m+6m
101、对有抗震设防要求的影剧院建筑,大厅与两侧附属房间之间()。
A.可不设防震缝
B.当为砌体结构时,应设防震缝
C.应设防震缝
D.当为钢筋混凝土结构时,可不设防震缝
102、关于砌体抗剪强度的叙述,下列中哪种正确?( )
A.与块体强度等级无关,与块体种类、砂浆强度等级有关
B.与块体种类无关,与块体强度等级、砂浆强度等级有关
C.与块体强度等级、块体种类、砂浆强度等级均相关
D.与砂浆种类无关,与块体强度等级、块体种类有关
103、砌体结构按承载能力极限状态设计时,对安全等级为二级或设计使用年限为50年的结构构件,其结构重要性系数取值是( )。
A.2.0
B.1.4
C.1.0
D.0.8
104、关于混凝土的说法,下列不正确的是( )。
A.混凝土带有碱性,可以防止钢筋生锈
B.水灰比就是水与水泥的体积比
C.轻骨料混凝土比普通混凝土的导热系数小
D.蒸汽养护可使混凝土强度快速达到设计要求
105、非地震区砖砌体结构的门、窗洞口采用砖砌平拱过梁时,其洞口宽度不宜超过以下何值?( )
A.1.2m
B.1.5m
C.1.8m
D.2.0m
106、下列哪一类钢筋混凝土结构允许的伸缩缝间距最大?( )
A.现浇框架结构
B.全现浇剪力墙结构
C.装配式框架结构
D.外墙装配式剪力墙结构
107、轴心受力构件的强度计算一般采用轴力设计值N除以净截面面积A,这对( )是偏于保守的。
A.高强度螺栓承压型连接
B.高强度螺栓摩擦型连接
C.普通螺栓连接
D.B和C
108、在强烈地震作用下,对竖向不规则的结构,下列叙述中哪一项是不正确的?()
A.整个结构的地震作用将增大
B.在薄弱楼层会产生弹塑性变形集中
C.在薄弱楼层会产生应力集中
D.必要时,应进行弹塑性时程分析
109、关于高层建筑箱形基础,下列不正确的是( )。
A.箱形基础的高度不宜小于3m
B.箱形基础的外墙宜沿建筑物周边布置
C.高层建筑,当其层数超过30层时应采用箱形基础
D.箱形基础墙体水平截面总面积不宜小于基础外墙外包尺寸的水平投影面积的1/10
110、下列关于抗震墙结构和部分框支抗震墙结构中的抗震墙设置要求中,不恰当的是哪一项?()
A.较长的抗震墙宜设置跨高比大于6的连梁形成洞口,将一道抗震墙分成长度较均匀的若干墙段,各墙段的高宽比不宜小于2
B.墙肢的长度沿结构全高不宜有突变
C.抗震墙的两端(不包括洞口两侧)宜设置端柱或与另一方向的抗震墙相连
D.抗震墙有较大洞口时,洞口宜上下对齐
111、下列与混凝土保护层厚度的取值无关的是( )。
A.构件工作环境
B.钢筋级别
C.混凝土强度等级
D.构件类型
112、对焊接结构,为了使其有良好的可焊性,通常需限制钢材的含碳量不超过( )。
A.0.22%
B.0.60%
C.0.20%
D.1.7%
113、砌体结构中钢筋混凝土挑梁,埋入砌体内的长度与其挑出长度之比,以下何项为适宜?( )
A.L1/L>1.2
B.L1/L>1.5
C.L1/L>1.8
D.L1/L>2.0
114、下列关于柱中箍筋构造要求的叙述,哪一条是错误的?( )
A.箍筋间距S≤400mm
B.箍筋间距S≤15
C.箍筋直径d≥/4
D.箍筋间距S≥6
115、控制和减小钢筋混凝土结构构件裂缝宽度的措施,下列何项错误?( )
A.在相同配筋率下,采用较大直径钢筋
B.提高配筋率
C.采用预应力技术
D.采用带肋钢筋
116、作为建筑结构材料,下列关于钢材特性的论述,错误的是( )。
A.耐腐蚀性差
B.可焊性好
C.强度高
D.耐火性好
117、确定房屋沉降缝的宽度应根据( )。
A.房屋的高度或层数
B.结构类型
C.地基土的压缩性
D.基础形式
118、在抗震建筑中,下列关于结构各构件之间的连接要求,哪一项是错误的?()
A.预埋件的锚固破坏,不应先于连接件
B.装配式结构的整体性较现浇结构差,应适当提高构件的承载力
C.构件节点的破坏,不应先于其连接的构件
D.预应力混凝土构件的预应力钢筋,宜在节点核心区以外锚固
119、下列柱纵筋布置不正确的是()。
A.总配筋率不大于5%
B.纵筋在柱端箍筋加密区绑扎
C.对称布置
D.每一侧配筋率不小于0.2%
120、在抗震设防烈度为6度的地区,其设计基本地震加速度值为()。
A.0.10g
B.0.20g
C.0.05g
D.0.40g
参考答案:
【一、单项选择题】
1~5 CAAAC 6~10 CADDD
11~120点击安装“注册建筑师题库APP”查看答案
如果这样刷题不过瘾,请立即安装APP刷题,历年真题、高质量模拟题应有尽有。