施工员考试是在建筑与市政工程施工现场,从事施工组织策划、施工技术与管理,以及施工进度、成本、质量和安全控制等工作的专业人员参与的一种考试。施工员的主要工作有参与施工组织管理策划、参与制定管理制度、参与图纸会审、技术核定、负责施工作业班组的技术交底等。上学吧施工员考试题库专门为施工员考试提供刷题服务,只要大家认真刷题学习,通过考试不难,现在就点击安装APP刷题。以下为试卷的详细内容:
一、单项选择题参考答案见试卷末尾
1、在轴承中,推力滑动轴承受( )荷载。
A.径向及轴向
B.径向
C.随力的方向变化
D.轴向
2、电梯超载试验的载荷是( )%额定载荷。
A.110
B.120
C.150
D.200
3、根据GB 50231规定,设备安装时,其混凝土基础的强度不应低于设计强度的 ( )%。
A.50
B.65
C.75
D.90
4、反映—个组织系统中各子系统之间或各元素(各工作部门)之间指令关系的是( )。
A.组织结构模式
B.组织分工
C.工作流程组级
D.工作分解结构
5、毛细管现象属于流体的哪种物理性质( )。
A.惯性
B.万有引力特性
C.黏性
D.表面张力特性
6、初步整平仪器是通过调节三个脚螺旋使圆水准器气泡( ),从而使仪器的竖轴大致铅垂,视准轴粗略水平。
A.偏左
B.居中
C.偏右
D.偏上
7、连接储存容器和集流管间的单向阀的流向指示箭头应指向( )。
A.介质流动方向
B.介质流动相反方向
C.储存器一侧
D.储存器的相反侧
8、同类照明的几个回路可穿于同一管内,但管内的导线总数不应多于( )根。
A.4
B.5
C.6
D.8
9、三相异步电动机确定每个导体力F方向的一个简单的方法是采用( )。
A.右手二手指定则
B.右手三手指定则
C.左手二手指定则
D.左手三手指定则
10、明配的导管固定点间距均匀,安装牢固;DN20壁厚≤2mm刚性钢导管沿墙明敷 中间直线段管卡间的最大距离()m。
A.0.5
B.1
C.1.5
D.2
11、《公民道德建设实施纲要》提出,要充分发挥社会主义市场经济机制的积极作用,人们必须增强( )。
A.个人意识、协作意识、效率意识、物质利益观念、改革开放意识
B.个人意识、竞争意识、公平意识、民主法制意识、开拓创新精神
C.自立意识、竞争意识、效率意识、民主法制意识、开拓创新精神
D.自立意识、协作意识、公平意识、物质利益观念、改革开放意识
12、将被污染空气排人大气中,防止空气倒灌及防止雨灌入的部件称为( )。
A.排风管
B.排风机
C.风帽
D.排风口
13、风管系统安装后,必须进行严密性检验,合格后方能交付下道工序。在加工工艺得到保证的前提下,低压系统风管系统严密性检验( )
A.可不再进行检测
B.可采用漏光性检测
C.必须采用漏风量检测
D.在漏光性检测合格后,再进行漏风量检测
14、一类高层建筑自备发电设备,应设有自动启动装置,并能在( )内供电。二 类高层建筑自备发电设备,当采用自动启动有困难时,可采用手动启动装置。
A.5s
B.10s
C.15s
D.30s
15、轴的设计计算主要是轴的强度和刚度计算,必要时还毖须校核其( )。
A.表面特性
B.尺寸公差
C.振动稳定性
D.疲劳特性
16、关于综合效能的测定与调整,描述错误的是( )。
A.通风与空调工程带生产负荷的综合效能试验与调整,应在已具备生产试运行的条件下进行
B.由建设单位负责,设计、施工单位配合
C.通风、空调系统带生产负荷的综合效能试验测定与调整的项目,应由建设单位根据工程性质、工艺和设计的要求进行确定
D.施工单位不用参加综合效能的测定与调整
17、热电偶供电为:( )。
A.直流
B.交流
C.三相交流
D.不供电
18、静置设备的性能主要由其( )来决定,其主要作用有:贮存、均压、交换、反应、过滤等。
A.压力
B.功能
C.参数
D.结构
19、( )施工适用于软质毡、板、管壳、硬质、半硬质板等各类绝热材料制品的 施工。
A.捆扎法
B.粘贴法
C.浇注法
D.充填法
20、施工现场发生的粉尘排放,主要是对环境的( )影响较大。
A.土地污染
B.大气污染
C.水体污染
D.资源消耗
21、风口与风管的连接应严密、牢固,与装饰面相紧贴;表面平整、不变形,调节灵 活、可靠。明装无吊顶的风口,安装位置和标高偏差不应大于( )mm。
A.10
B.5
C.12
D.15
22、我国目前实行的工程量清单计价采用的综合单价是部分费用综合单价,既不完全费用综合单价。单价中未包括措施费、其他项目费、规费和( )。
A.风险费
B.管理费
C.利润
D.税金
23、相线的截面积16
A.8
B.10
C.16
D.25
24、采用电弧焊焊接,当风速等于或大于( )时,如未采取适当的防护措施,应立即停止焊接工作。
A.2m/s
B.4m/s
C.6m/s
D.8m/s
25、在物理学中,流体的液位用( )表示。
A.L
B.T
C.W
D.Y
26、蜗轮蜗杆传动是用于传递空间互相( )而不相交的两轴间的运动和动力。
A.垂直
B.重叠
C.平行
D.交错
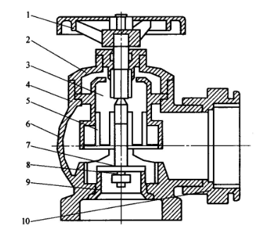
27、下图为减压型单阀单出口室内消火栓结构示意,其中“5”代表的是( )。
A.弹簧
B.阀瓣
C.密封垫
D.活塞
28、蓄能型弹簧缓冲器仅适用于额定速度小于( )的电梯。
A.1m/s
B.2m/s
C.0.6m/s
D.5m/s
29、矩形风管铁皮厚度选择错误的是:( )
A.1000×320排烟风管?=1.0mm
B.1000×320中压风管?=0.75mm
C.700×320排烟风管?=1.0mm
D.1250×320排烟风管?=1.2mm
30、按照工程量清单规范规定的全国统一的工程量计算规则,由招标人提供工程量清单和有关技术说明,投标人根据企业自身的定额水平和市场价格进行的计价的模式是( )。
A.传统计价模式
B.工程量清单计价模式
C.现实计价模式
D.施工图预算计价模式
31、为使施工单位熟悉有关的设计图纸,充分了解拟建项目的特点、设计意图和工艺 与质量要求,减少图纸的差错,消灭图纸中的质量隐患,要做好( )的工作。
A.设计交底、图纸整理
B.设计修改、图纸审核
C.设计交底、图纸审核
D.设计修改、图纸整理
32、在施工项目目标责任成本的控制划分责任中形成三级责任中心,即班组责任中心、 项目经理部责任中心、公司责任中心。其中公司责任中心负责控制的成本属于( )。
A.制造成本
B.使用成本
C.责任成本
D.目标责任成本
33、在质量管理的PDCA循环中,总结经验,纠正偏差,并将遗留问题转入下一轮循 环属于( )。
A.计划
B.实施
C.检查
D.处置
34、统计( )是利用会计核算资料和业务核算资料,把企业生产经营活动客观现 状的大量数据,按统计方法加以系统整理,表明其规律性。
A.分析
B.核算
C.分类
D.统计
35、下列不属于《建设工程施工专业分包合同(示范文本)》中专用条款内容的是( )。
A.词语定义及合同文件
B.分包工程概况
C.竣工验收与结算
D.工期
36、热电偶测温时,显示不准,应用毫伏表测其( )。
A.电压
B.电流
C.电容
D.电阻
37、系统无生产负荷的联合试运转及调试结果,下列描述中不包括的规定为( )。
A.系统总风量调试结果与设计风量的偏差不应大于10%
B.空调冷热水、冷却水总流量测试结果与设计流量的偏差不应大于10%
C.舒适空调的温度、相对湿度应符合设计的要求
D.风口风量与设计偏差小于10%
38、施工图预算审查时,将分部分项工程的单位建筑面积指标总结归纳为工程量、价格、用工三个单方基本指标,然后利用这些基本指标对拟建项目分部分项工程预算进行审查的方法称为( )。
A.筛选审查法
B.对比审查法
C.分组计算审查法
D.逐项审查法
39、( )的缺点是耐热性差,允许运行温度较低,易受机械损伤,遇到油类或其他化学物时易变质损坏。
A.塑料绝缘架空电力电缆
B.橡胶绝缘电缆
C.耐火、阻燃电力电缆
D.塑料绝缘电力电缆
40、下列哪些仪表不是温度仪表( )。
A.热电偶
B.热电偶
C.温度变送器
D.pH计
二、多项选择题参考答案见试卷末尾
1、下列属于工程量清单编制依据的是( )。
A.建设工程设计文件
B.招标文件
C.地质勘察报告
D.常规施工方案
E.建设工程设计文件及相关资料
2、电动机的外壳上都附有一块铭牌,若显示为YI60L一4,则表示为( )。
A.Y表示(笼型)异步电动机
B.160表示机座中心高为160mm
C.L表示长机座
D.4表示4极电动机
E.160L麦示机座长160 mm
3、下列说法正确的是( )。
A.压力容器属于特种设备的范畴
B.由于自来水中的氯离子含量较高,不能够直接进行不锈钢容器的试压
C.压力容器安装前建设单位必须办理告知手续
D.技术质量监督局对压力容器制造和安装都要进行监督
E.压力容器的压力必须大1.6MPa
4、发电设备包括( )。
A.风力发电设备
B.火力发电设备
C.太阳能发电设备
D.水力发电设备
E.核能发电设备
5、电缆桥架适用于在( )及电缆竖井内安装。
A.室内
B.室外架空
C.电缆沟
D.电缆隧道
E.水里
6、工程量清单需按照《建筑工程工程量清单计价规范》附录的( )编制。
A.项目编码
B.项目名称
C.计量单位
D.工程量计算规则
E.工程量计价格式
7、电工测量仪器仪表中的指示仪表按工作原理可分为磁电系、( )等。
A.直流系
B.电磁系
C.电动系
D.感应系
E.静电系
8、“3A“智能建筑包括:( )。
A.建筑设备监控系统(BAS)
B.火灾自动报警及消防联动系统
C.办公自动化系统(OAS)
D.通信自动化系统(CAS)
E.建筑能耗评测系统( EAS)
9、属于流体静压强的特性的是( )。
A.垂向性
B.各向等值性
C.稳定性
D.恒定性
E.黏性
10、板材按其材质分类有( )。
A.冷轧薄钢板
B.普通碳素钢板
C.低合金结构钢板
D.不锈钢板
E.镀锌钢薄板
11、不同回路、不同电压的交流与直流的导线,不得穿入同一管内,但以下几种情况 除外:( )。
A.照明写动力,但管内导线总数不应多于8根
B.额定电压为50V以下的回路
C.同一设备或同一流水作业线设备的电力回路和无特殊防干扰要求的控制回路
D.同一花灯的几个回路
E.同类照明的几个回路,但管内的导线总数不应多于8根
12、气体灭火系统施工前,应对系统组件进行外观检查( )。
A.系统组件无碰撞变形及机械性损伤
B.组件外露非机械加工表面保护涂层完好
C.组件所有外露接口设有防护装置且封闭良好,接口螺纹和法兰密封面无损伤
D.铭牌清晰,其内容应符合国家要求且必须有效
E.保护同一防护区的灭火剂贮存容器规格应一致,其高度差不宜超过20mm
13、人工定额按表现形式的不同,可分为( )。
A.时间定额
B.单项工序定额
C.产量定额
D.综合定额
E.分部工程定额
14、焊接中检验之一为是否执行了焊接工艺要求,包括( )。
A.焊接材料
B.焊接设备
C.焊接规范
D.焊接方法
E.焊接顺序
15、以下关于RLC电路特点说法正确的是( )。
A.当感抗大于容抗时,则电压超前电流,电路呈电感性
B.当感抗等于容抗时,此时电路的工作状态称为谐振
C.当感抗等于容抗时,则电压与电流同相,电路呈电阻性
D.当感抗小于容抗时,则电压滞后电流,电路呈电容性
E.当感抗小于容抗时,此时电路的工作状态称为谐振
16、电梯限速器安装应( )。
A.可接近的,以便于检查和维修
B.不可接近的,以免触碰
C.限速器动作速度整定封记必须完好,且无拆动痕迹
D.安装时要进行调整
E.由电梯生产厂家进行安装
17、熔断器可分为( )。
A.高压管式熔断器
B.跌开式熔断器
C.跌落式熔断器
D.隔离熔断器
E.负荷熔断器
18、等电位联结分为( )
A.卫生间等电位联结
B.进线等电位联结
C.厨房等电位联结
D.辅助等电位联结
E.局部等电位联结
19、下列选项中属于工程量清单组成部分的是( )。
A.分部分项工程量清单
B.措施项目清单
C.规费项目清单
D.税金项目清单
E.企业管理费
20、生活热水系统常用的加热方式分为( )。
A.换热器加热
B.直接加热
C.电加热
D.间接加热
E.汽水混合加热
三、判断题参考答案见试卷末尾
1、按施工项目成本组成编制施工项目成本计划、按项目组成编制施工项目成本计 划、按施工进度编制施工项目成本计划,以上三种编制施工成本计划的方法并不是相互独 立的。 ( )
2、工程量清单是编制招投标控制价、投标报价、计算工程量、支付工程款、调整合同价款、办理竣工结算以及工程索赔等的依据。 ( )
3、净化空调系统风管的法兰铆钉间距要求小于100mm,空气洁净等级为N1—N5的风管法兰铆钉间距要求小于65mm。 ( )
4、隔离开关没有灭弧装置,但可容许通断一定的大电流。 ( )
5、对于电阻性和感性负载来说,变压器外特性曲线是稍向下倾斜的,而且功率因数越低,下降得越慢。 ( )
6、我国节能建筑市场尚未形成,是因为市场机制的问题,与政府无关。 ( )
7、办事公道不可能有明确的标准,只能因人而异。 ( )
8、电磁流量计和管道之间应连接成等电位并可靠接地。 ( )
9、标准、规范的导线颜色:A相用黄色,B相用红色,C相用绿色,N线用蓝色,PE线用黄绿双色。 ( )
10、如果两根管线投影交叉,高的管不论是用双线还是用单线表示,它都应该显示完整。高的管线画成单线时要断开表示,以此说明这两根管线不在同一标高上。 ( )
11、当电梯失速冲向端站,首先要碰撞一级强迫减速开关。 ( )
12、同一交流回路的导线可以不用穿于同一管内。 ( )
13、消防水泵接合器其型号标示方法中安装形式代号D表示地上式。 ( )
14、全剖视图是用一个剖切平面完全地剖开形体后所得到的剖视图。 ( )
15、埋弧焊只能在平焊位置施焊。 ( )
16、建设项目的职业病防护设施应按照规定与主体工程同时投入生产和使用。 ( )
17、报警阀组应按产品说明书和设计要求安装,控制阀应有启闭指示装置,阀门处于常闭状态。 ( )
18、内标式温度计可以用水银或甲苯、乙醇、石油醚等有机液体。 ( )
19、电磁流量计可以测量气体介质流量。 ( )
20、静置设备又称为非标准设备或非定型设备。( )
参考答案:
【一、单项选择题】
1~5 DACAD 6~10 BADBB
11~40点击安装“施工员题库APP”查看答案
【二、多项选择题】
1 ABD 2 ABCD 3 AD 4 BDE 5 ABCD
6~20点击安装“施工员题库APP”查看答案
【三、判断题】
1 对 2 对 3 对 4 错 5 错
6~20点击安装“施工员题库APP”查看答案
如果这样刷题不过瘾,请立即安装APP刷题,历年真题、高质量模拟题应有尽有。