一级注册建筑师考试是从事建筑设计及相关业务活动的专业技术人员参考的一个难度很大的考试,建筑师需要兼备艺术家的审美眼光和工程师的力学知识,还需要具体不错的沟通能力。考试的内容包括场地设计、建筑方案设计、建筑技术设计,经济、施工与设计管理、设计前期与场地设计、建筑材料与构造等等。上学吧一级注册建筑师考试题库汇集了不少试题,为您学习刷题提供支持,现在就点击安装APP刷题。以下为试卷的详细内容:
一、单项选择题参考答案见试卷末尾
1、关于钢筋混凝土高层建筑的层间最大位移与层高之比限值,下列大小关系不正确的是()。
A.框架结构>框架-剪力墙
B.框架-剪力墙>剪力墙结构
C.剪力墙结构>框架-核心筒结构
D.框架结构>板柱-剪力墙结构
2、弹性层间位移角限值最大的是()。
A.钢筋混凝土框支层
B.多高层钢结构
C.钢筋混凝土框架
D.钢筋混凝土框架-剪力墙
3、一般情况下钢筋混凝土现浇剪力墙结构的伸缩缝最大间距为()。
A.30m
B.45m
C.60m
D.75m
4、目前,在钢结构中最适宜直接承受动力荷载的连接方法是( )。
A.铆钉连接
B.普通螺栓连接
C.螺栓连接
D.摩擦型高强螺栓连接
5、按一、二级抗震等级设计时,框架结构中纵向受力钢筋的屈服强度实测值与强度标准值的比值,不应大于()。
A.1.30
B.1.50
C.1.25
D.1.80
6、当砂浆强度等级M7.5时,组合砖砌体墙的允许高厚比可取( )。
A.24
B.28
C.28.8
D.31.2
7、对于有抗震设防要求的多层小砌块房屋,其芯柱的混凝土强度等级不应低于何值?( )
A.Cb15
B.Cb20
C.Cb25
D.Cb30
8、两块钢板当采用角焊缝连接时,两焊角边的夹角小于( )度时不宜作为受力焊缝。
A.30
B.45
C.60
D.90
9、下列不属于锯材的木材种类是( )。
A.板材
B.规格材
C.方木
D.胶合材
10、下列哪项措施对增大钢筋混凝土房屋伸缩缝的间距无效?()
A.采用架空通风屋面
B.顶部设局部温度缝
C.在温度变化影响较大的部位提高配筋率
D.加强顶部楼层的刚度
11、下列有关混凝土保护层作用的说明,哪一项是不对的?( )
A.防锈
B.增强黏结力
C.防火
D.便于装修
12、抗震设防区的建筑当遭受相当于本地区抗震设防烈度的地震影响时,其抗震设防目标是()。
A.可能损坏,经一般修理或不需修理仍可继续使用
B.不致发生危及生命的严重破坏
C.一般不受损坏或不需修理仍可继续使用
D.不致倒塌
13、热轧钢筋经冷拉后,能提高的物理力学性能是( )。
A.韧性
B.可焊性
C.塑性
D.屈服强度
14、地震区构造柱与圈梁连接处,纵筋应如何布置?()
A.圈梁纵筋贯通构造柱
B.构造柱与圈梁纵筋均切断
C.构造柱纵筋贯通圈梁
D.以上都不对
15、热轧钢筋经过冷拉后受力性能发生变化,关于冷拉钢筋受力性能的说法,下列不正确的是( )。
A.受压强度提高
B.塑性性能下降
C.受拉强度提高
D.仍为软钢
16、下列有关荷载标准值、设计值、准永久值、荷载效应组合的叙述中,哪一种是错误的?( )
A.荷载准永久值小于荷载标准值(积灰荷载除外)
B.对于承载能力极限状态,应采用荷载效应的基本组合进行设计;对于正常使用极限状态,应根据不同的设计要求,分别采用荷载的短期效应组合和长期效应组合进行设计
C.荷载设计值大于荷载标准值
D.短期效应组合和长期效应组合的荷载设计值应考虑荷载分项系数
17、有甲、乙两栋建筑物,平面尺寸与立面高度见图(Ⅰ)、图(Ⅱ)。在其他条件相同的情况下,分别作用于甲、乙建筑物上的风荷载总值F与F之间的关系是( )。
A.F>F
B.F=F
C.F
D.不能确定
18、设计规范中,钢材的强度设计值按( )分组而取不同值。
A.化学成分
B.脱氧程度
C.轧制次数
D.厚度或直径
19、下列关于混凝土的收缩性能的叙述中,哪一项是正确的?( )
A.水泥用量越多,收缩越大
B.水灰比越大,收缩越大
C.水泥标号越高,收缩越小
D.环境温度越低,收缩越大
20、高层建筑防震缝的最小宽度,与下列哪些因素有关?()Ⅰ.结构体系;Ⅱ.房屋平面形式;Ⅲ.设防烈度;Ⅳ.房屋高度
A.Ⅲ、Ⅳ
B.Ⅱ、Ⅲ、Ⅳ
C.Ⅰ、Ⅱ
D.Ⅰ、Ⅲ、Ⅳ
21、关于对场地液化及处理,下列叙述中不正确的是()。
A.6度设防区的一般建筑可不进行判别和处理
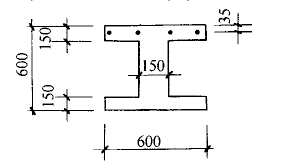
B.6度区对液化沉陷敏感的乙类建筑可按7度的要求进行判别和处理
C.只有含饱和砂土层的地基才需要进行液化判别和地基处理
D.7~9度时,乙类建筑可按本地区抗震设防烈度的要求进行判别和处理
22、轻型木结构中,用于对强度、刚度有较高要求而对外观只有一般要求的构件,其材质的最低等级要求为( )。
A.Ⅱ级
B.Ⅲ级
C.Ⅰ级
D.Ⅳ级
23、多层砌体房屋其主要抗震措施是下列哪一种?()
A.限制房屋高宽比
B.设置构造柱和圈梁
C.限制高度和层数
D.限制墙段的最小尺寸,并规定横墙最大间距
24、选择建筑场地时,对建筑不利和危险地段,以下叙述不正确的是?()
A.不应在危险地段建造甲、乙类建筑,但可以建造丙类建筑
B.在危险地段可以建造丁类建筑
C.对不利地段,应提出避开要求
D.当无法避开不利地段时可以建造丁类建筑
25、如图为一位于7度抗震设防区的高层建筑平面,其L/B宜控制在()以下。
A.5
B.6
C.4
D.7
26、下列哪种情况不属于建筑平面不规则的类型?()
A.凹凸不规则
B.楼板局部不连续
C.扭转不规则
D.楼板有洞口
27、下面关于一般基础埋置深度的叙述,哪一项是不适当的?( )
A.应根据工程地质和水文地质条件确定
B.埋深应满足地基稳定和变形的要求
C.应考虑冻涨的影响
D.任何情况下埋深不能小于2.5m
28、选择建筑场地时,下列哪些地段是对建筑抗震不利的?()
A.地震时可能发生滑坡的地段
B.地震时可能发生崩塌的地段
C.地震时可能发生地裂的地段
D.断层破碎带地段
29、计算矩形截面受弯构件及受压构件正截面承载力时,应采用混凝土的哪一种强度?( )
A.立方体抗压强度
B.轴心抗压强度设计值
C.轴心抗拉强度标准值
D.轴心抗压强度标准值
30、下列变形曲线中,正确的是()。
31、砌体结构中,刚性和刚弹性房屋横墙厚度不宜小于( )。
A.180mm
B.240mm
C.120mm
D.由计算确定
32、水平配筋砖墙中水平分布钢筋间距不应大于以下何值?( )
A.250mm
B.300mm
C.350mm
D.400mm
33、关于钢筋混凝土剪力墙的布置,下列哪一项是错误的?()
A.较长的剪力墙可开洞后设连梁,连梁应有足够的刚度
B.剪力墙的门窗洞口宜上下对齐,成列布置
C.剪力墙应双向或多向布置,宜拉通对直
D.墙肢截面高度与厚度之比不宜过小
34、砌体结构中钢筋混凝土挑梁,埋入砌体内的长度与其挑出长度之比,以下何项为适宜?( )
A.L1/L>1.2
B.L1/L>1.5
C.L1/L>1.8
D.L1/L>2.0
35、下列对钢管混凝土柱中混凝土作用的描述,何项不正确?( )
A.提高钢管柱的抗压承载力
B.提高钢管柱的耐火极限
C.有利于钢管柱的稳定
D.提高钢管柱的抗拉承载力
36、下列关于单向板肋梁楼盖传力路径的叙述,哪一项是正确的?( )
A.竖向荷载→板→主梁→柱或墙→基础
B.竖向荷载→板一次梁→柱或墙→基础
C.竖向荷载→板→柱或墙→基础
D.竖向荷载→板→次梁→主梁→柱或墙→基础
37、钢屋架中受拉构件的允许长细比为( )。
A.300
B.350
C.400
D.450
38、根据《建筑地基基础设计规范》,地基承载力修正的根据是( )。
A.建筑物的使用功能
B.建筑物的高度
C.基础的类型
D.基础的宽度与埋深
39、关于混凝土的说法,下列不正确的是( )。
A.混凝土带有碱性,可以防止钢筋生锈
B.水灰比就是水与水泥的体积比
C.轻骨料混凝土比普通混凝土的导热系数小
D.蒸汽养护可使混凝土强度快速达到设计要求
40、验算施工阶段砂浆尚未硬化的新砌砌体高厚比时,允许高厚比对墙取以下何值?( )
A.11
B.12
C.13
D.14
41、在木桁架结构中,当采用方木作为下弦时,其桁架跨度不应大于( )。
A.15m
B.12m
C.10m
D.8m
42、关于设置木屋架支撑的作用,下列正确的是( )。Ⅰ.保证屋架安装质量和安全施工Ⅱ.保证受压弦杆的侧向稳定Ⅲ.承受和传递纵向水平力Ⅳ.承受和传递屋面荷载
A.Ⅱ、Ⅲ
B.Ⅰ、Ⅱ、Ⅳ
C.Ⅰ、Ⅱ、Ⅲ
D.Ⅰ、Ⅱ、Ⅲ、Ⅳ
43、有抗震设防要求的二级框架柱截面宽度不宜小于()mm。
A.300
B.400
C.250
D.500
44、现浇钢筋混凝土框架结构,7度设防时最大适用高度为()。
A.为50m
B.多加框架柱后,可不受限
C.不受限
D.为70m
45、关于承重木结构用胶,下列说法不正确的是( )。
A.当有出厂质量证明时,使用前可不再检验其胶黏能力
B.应保证胶合强度不低于木材顺纹抗剪强度
C.应保证胶合强度不低于木材横纹抗拉强度
D.应保证胶连接的耐水性和耐久性
46、在钢筋混凝土梁斜截面承载力计算中,有时要考虑剪跨比λ的影响,下列关于λ的叙述,哪一条是错误的?( )
A.对集中荷载作用(包括集中荷载作用效应大于75%)下的独立梁,应考虑λ的影响
B.λ的取值范围为1.5≤λ≤3.0
C.随着λ数值的加大,梁的斜截面承载力亦加大
D.随着λ数值的加大,梁的斜截面承载力减少
47、学校建筑的上人屋面的楼面活荷载标准值为( ),栏杆顶部水平荷载为( )。
A.2.0kN/m2;1.0kN/m
B.2.5kN/m2;1.0kN/m
C.2.0kN/m2;0.5kN/m
D.2.5kN/m2;0.5kN/m
48、钢材的伸长率是衡量钢材( )的指标。
A.塑性性能
B.冷弯性能
C.弹性性能
D.冲击韧性
49、土的塑性指数Ip,下列对其物理概念的描述中何种说法是不正确的?( )
A.土的塑性指数越大,则其黏土颗粒也越多
B.土的塑性指数越大,则其塑性状态的含水量范围大
C.土的塑性指数是其液限和塑限之差
D.土的塑性指数越大,则其含水量也越大
50、一钢筋混凝土梁,截面尺寸见图,弯矩设计值为150kN·m,采用C25,f=11.9N/mm2,f=360N/mm2,计算所需的钢筋面积(近似取内力臂为0.9h)。(图中尺寸以mm为单位)( )
A.902mm2
B.1102mm2
C.827mm2
D.716mm2
51、关于计算钢结构承载能力,下列说法不正确的是( )。
A.受弯构件不考虑稳定性
B.轴心受压构件应该考虑稳定性
C.压弯构件应该考虑稳定性
D.轴心受拉构件不考虑稳定性
52、下列关于钢筋混凝土现浇楼盖单向板分布钢筋面积和间距的叙述,哪一项是正确的?( )
A.截面面积不宜小于受力钢筋面积的10%,且间距不宜小于200mm
B.截面面积不宜小于受力钢筋面积的15%,且间距不宜大于250mm
C.截面面积不宜小于受力钢筋面积的10%,且间距不宜大于200mm
D.截面面积不宜小于受力钢筋面积的15%,且间距不宜大于300mm
53、上人的屋面不兼作其他用途时,其屋面均布活荷载标准值为( )。
A.0.5kN/m2
B.0.7kN/m2
C.1.5kN/m2
D.2.0kN/m2
54、单层砖柱厂房结构只能适用于下列哪一项所示的设防烈度区?()
A.设防烈度7度(0.15g)及以下地区
B.设防烈度8度(0.20g)及以下地区
C.设防烈度7度(0.10g)及以下地区
D.设防烈度8度(0.30g)及以下地区
55、下图为矩形平面楼盖,周边柱距离为3m,中部不设柱,为了取得最大净空,下列方案中哪一种最适宜?( )
A.沿12m方向3m间距布置梁,梁间为单向板
B.沿9m方向按3m间距布置主梁,另一方向按3m间距布置次梁,梁间为双向板
C.沿9m方向3m间距布置梁,梁间为单向板
D.沿两个方向按3m间距布置成井字梁,梁间距为双向板
56、下列关于单层砖柱厂房结构要求的叙述何项不正确?( )
A.厂房屋盖不宜采用轻型屋盖
B.厂房两端均应设置砖称重山墙
C.8度抗震设防时不应采用无筋砖柱
D.厂房天窗不应通至厂房单元的端开间
57、抗震设计时,非结构构件亦应抗震设防,建筑非结构构件包括下列哪几类?()
A.附属结构构件、装饰物、女儿墙和高低跨封墙
B.装饰物、围护墙和隔墙,顶棚
C.装饰物、围护墙、隔墙
D.附属结构构件、装饰物、围护墙和隔墙
58、在一栋有抗震设防要求的建筑中,如需设防震缝则()。
A.防震缝应将其两侧房屋的上部结构连同基础完全分开
B.只有在设地下室的情况下,防震缝才可以将其两侧房屋的上部结构分开
C.防震缝应将其两侧房屋的上部结构完全分开
D.只有在不设地下室的情况下,防震缝才可只将其两侧房屋的上部结构分开
59、关于多层小砌块房屋的芯柱,下列构造要求中错误的是( )。
A.小砌块房屋芯柱截面不宜小于240mm×240mm
B.芯柱混凝土强度等级,不应低于Cb20
C.芯柱的竖向插筋应贯通墙身且与圈梁连接;插筋不应小于1φ12,6、7度时超过五层、8度时超过四层和9度时,插筋不应小于1φ14
D.芯柱应伸入室外地面下500mm或与埋深小于500mm的基础圈梁相连
60、下列关于单层厂房屋盖纵向水平支撑的布置要求中哪一项是错误的?()
A.对于高低跨厂房,在低跨屋盖横梁端部支承处,应沿屋盖全长设置纵向水平支撑
B.纵向柱列局部柱间采用托架支承屋盖横梁时,应沿托架的柱间及向其两侧至少各延伸一个柱间设置屋盖纵向水平支撑
C.当采用托架支承屋盖横梁的屋盖结构时,至少应沿厂房单元全长隔跨设置纵向水平支撑
D.当设置沿结构单元全长的纵向水平支撑时,应与横向水平支撑形成封闭的水平支撑体系
61、热轧钢筋经过冷拉后,其强度和变形性能的变化应为( )。
A.抗拉强度提高,变形性能降低
B.抗拉强度不变,变形性能不变
C.抗拉强度提高,变形性能提高
D.抗拉强度提高,变形性能不变
62、当木结构处于下列何种情况时,不能保证木材可以避免腐朽?( )
A.含水率≤20%的环境
B.含水率在40%~70%的环境
C.具有良好通风的环境
D.长期浸泡在水中
63、土的强度实质上是下列哪一种强度?( )
A.土的抗剪强度
B.土的抗压强度
C.土的黏聚力强度
D.土的抗拉强度
64、某一6层砌体房屋,如分别位于Ⅰ、Ⅱ、Ⅲ类场地上,当其他条件相同时,试比较房屋所受的总水平地震作用的大小。()
A.位于Ⅰ类场地上最大
B.位于Ⅱ类场地上最大
C.位于Ⅲ类场地上最大
D.在各类场地上,房屋所受的总水平地震作用相同
65、为减少图示结构B点的水平位移,最有效的措施是( )
A.增加AB的刚度EAAB
B.增加AC的刚度EAAC
C.增加BD的刚度EABD
D.增加CD的刚度EACD
66、扩底灌注桩的扩底直径,不应大于桩身直径的倍数,下列正确的是( )。
A.2倍
B.2.5倍
C.1.5倍
D.3倍
67、某房屋上部结构荷载太大且地基软弱,而坚实土层在地面以下25m,对此采用下列哪种基础最佳?( )
A.筏基
B.十字交叉梁基础
C.箱基
D.桩基
68、扩展基础的配筋应依据( )。
A.构造要求确定
B.经验确定
C.计算确定
D.计算确定并满足构造要求
69、关于高层建筑箱形基础,下列不正确的是( )。
A.箱形基础的高度不宜小于3m
B.箱形基础的外墙宜沿建筑物周边布置
C.高层建筑,当其层数超过30层时应采用箱形基础
D.箱形基础墙体水平截面总面积不宜小于基础外墙外包尺寸的水平投影面积的1/10
70、在划分现浇钢筋混凝土结构的抗震等级时,应考虑:Ⅰ.设防烈度;Ⅱ.场地类别;Ⅲ.结构类别;Ⅳ.房屋高度;Ⅴ.建筑物的重要性类别。下列何者是正确的?()
A.Ⅰ、Ⅱ、Ⅲ
B.Ⅰ、Ⅲ、Ⅳ
C.Ⅰ、Ⅲ、Ⅴ
D.Ⅲ、Ⅳ、Ⅴ
71、《建筑抗震设计规范》规定,对于黏土砖砌体承重的房屋,当设防烈度为9度时,房屋总层数的限值为()层。
A.4
B.3
C.5
D.2
72、在确定有抗震要求的框架结构的构件截面尺寸时,下列哪一项是错误的?()
A.梁截面高宽比不宜大于4
B.柱截面高度不宜小于500mm
C.梁截面宽度不宜小于240mm
D.净跨与截面高度之比不宜小于4
73、柱下对称独立基础,基础宽度为b,基础自重和其上的土重为Gk,为使基础底面不出现拉力,基础顶面所承受的柱底竖向力Fk和Mk必须满足以下何种关系?( )
74、木材的防腐分为构造防腐和( )。
A.保温措施防腐
B.化学防腐
C.干燥处理防腐
D.油漆防腐
75、配筋混凝土小型空心砌块抗震墙房屋适用的最大高度,下列哪一项是正确的?()
A.8度(0.3g)时,不超过30m
B.7度(0.1g)时,不超过60m
C.8度(0,20g)时,不超过45m
D.7度(0.15g)时,不超过50m
76、关于建筑物的地基变形计算及控制的说法,下列正确的一项是( )。
A.砌体承重结构应由沉降差控制
B.高耸结构应由倾斜值及沉降量控制
C.框架结构应由局部倾斜控制
D.单层排架结构仅由沉降量控制
77、以下关于钢屋架设计的叙述中,何者是错误的?( )
A.屋架外形尽可能与弯矩图相适应
B.屋架杆件布置要合理,宜使较长的腹杆受压,较短的腹杆受拉
C.屋架外形应与屋面材料所要求的排水坡度相适应
D.宜尽可能使荷载作用在屋架节点上,避免弦杆受弯
78、在选择建筑场地时,以下叙述不正确的是哪一项?()
A.对不利地段,应提出避开要求;当无法避开时应采取有效的措施
B.严禁在危险地段建造甲、乙类的建筑
C.对抗震有利、不利和危险地段做出综合评价
D.可在危险地段上建造丙类的建筑
79、在抗震建筑中,下列关于结构各构件之间的连接要求,哪一项是错误的?()
A.预埋件的锚固破坏,不应先于连接件
B.装配式结构的整体性较现浇结构差,应适当提高构件的承载力
C.构件节点的破坏,不应先于其连接的构件
D.预应力混凝土构件的预应力钢筋,宜在节点核心区以外锚固
80、下列关于高层建筑筒中筒结构的叙述,哪些是不正确的?()Ⅰ.筒中筒结构宜采用对称平面Ⅱ.当为矩形平面时,长宽比不宜大于2Ⅲ.筒中筒结构的高宽比不宜大于3Ⅳ.外筒的柱距应大于层高
A.Ⅱ、Ⅲ
B.Ⅲ、Ⅳ
C.Ⅰ、Ⅱ
D.Ⅱ、Ⅳ
81、下列关于柱纵向受力钢筋的构造要求,哪一条是错误的?( )
A.纵向受力钢筋的直径不宜小于12mm
B.当截面高度h≥600mm时,在柱的侧面应设置纵向构造筋,并相应设置复合箍筋或拉筋
C.纵向受力钢筋的中距不宜小于300mm
D.全部纵向钢筋的配筋率不宜大于5%
82、为增强整体刚度,在软弱地基上的多层砌体房屋,其长高比(房屋长度与高度之比)宜小于或等于( )。
A.3
B.2
C.2.5
D.1.5
83、作为建筑结构材料,下列关于钢材特性的论述,错误的是( )。
A.耐腐蚀性差
B.可焊性好
C.强度高
D.耐火性好
84、受压构件的长细比不宜过大,一般应控制在l/b≤30,其目的是下列哪一项?( )
A.防止斜截面受剪破坏
B.防止影响其稳定性或使其承载力降低过多
C.防止受拉区混凝土产生水平裂缝
D.防止正截面受压破坏
85、钢材的破坏可区分为塑性破坏和脆性破坏两种方式,改变钢材破坏方式的主要因素是( )。
A.环境温度
B.应力集中程度
C.加荷速度
D.上述三者之一
86、四根材料和截面面积相同而截面形状不同的均质梁,其抗弯能力最强的是( )。
A.正方形截面
B.宽高比为0.5的矩形截面
C.圆形截面
D.宽高比为2.0的矩形截面
87、考虑木结构存在的缺陷,木结构建筑最高不可超过( )。
A.1
B.2
C.3
D.4
88、下图所示梁受拉区(下部钢筋受拉)折角处纵向钢筋配筋方案中,哪一组是正确的?
A.Ⅰ、Ⅳ
B.Ⅱ、Ⅲ
C.Ⅰ、Ⅲ
D.Ⅱ、Ⅳ
89、下列哪一组性能属于钢筋的力学性能?( )Ⅰ.拉伸性能 Ⅱ.塑性性能 Ⅲ.冲击韧性 Ⅳ.冷弯性能 Ⅴ.焊接性能
A.Ⅱ,Ⅲ,Ⅳ
B.Ⅲ,Ⅳ,Ⅴ
C.Ⅰ,Ⅱ,Ⅲ
D.Ⅰ,Ⅱ,Ⅴ
90、钢结构设计规范中推荐使用的钢材为( )。
A.25MnSi,Q235
B.Q345,B3F,BY3F
C.Q235,Q345,Q390,Q420
D.45号钢,Q235,15MnTi
91、下列关于抗震墙结构和部分框支抗震墙结构中的抗震墙设置要求中,不恰当的是哪一项?()
A.较长的抗震墙宜设置跨高比大于6的连梁形成洞口,将一道抗震墙分成长度较均匀的若干墙段,各墙段的高宽比不宜小于2
B.墙肢的长度沿结构全高不宜有突变
C.抗震墙的两端(不包括洞口两侧)宜设置端柱或与另一方向的抗震墙相连
D.抗震墙有较大洞口时,洞口宜上下对齐
92、钢筋混凝土楼盖梁如出现裂缝应按下述哪一条处理?( )
A.允许,但应满足构件变形的要求
B.允许,但应满足裂缝宽度的要求
C.不允许的
D.允许,但应满足裂缝开展深度的要求
93、我国目前设计的地震基本烈度是取50年超越概率为()的地震烈度。
A.10%
B.3%
C.63.2%
D.2%
94、配筋率适中的钢筋混凝土梁,其斜截面受剪破坏时具有以下哪种特征?( )
A.脆性破坏
B.根据弯矩的大小决定是延性还是脆性破坏
C.延性破坏
D.根据荷载分布类型决定是延性还是脆性破坏
95、配筋砌块砌体剪力墙的连梁采用配筋砌块砌体时不应小于以下何值?( )
A.240mm
B.300mm
C.400mm
D.500mm
96、有-12m×16m平面,柱沿周边按4m间距布置,采用钢筋混凝土楼盖(不考虑预应力),为取得较大的楼层净高(压缩楼盖结构高度),下列各种结构布置中哪种最为合适?()
A.16m跨、4m间距的主梁,另一方向采用2m间距的3跨连续次梁
B.沿长向柱列设两根主梁,并布置1m间距、12m跨的次梁
C.12m跨、4m间距的主梁,另一方向采用2m间距的4跨连续次梁
D.采用3×4格的井字梁
97、图示钢结构的连接属于哪一种类型?( )
A.铰接
B.半刚接
C.刚接
D.半铰接
98、下列与混凝土保护层厚度的取值无关的是( )。
A.构件工作环境
B.钢筋级别
C.混凝土强度等级
D.构件类型
99、《高层建筑混凝土结构技术规程》(JGJ3-2010)对各类钢筋混凝土结构房屋有一个适用的最大高度。这个规定是根据:Ⅰ.结构体系;Ⅱ.设防烈度;Ⅲ.房屋的高宽比;Ⅳ.房屋的长宽比。诸因素中的哪些因素确定的?()
A.Ⅰ、Ⅱ、Ⅲ
B.Ⅰ、Ⅱ、Ⅳ
C.Ⅰ、Ⅱ
D.Ⅰ、Ⅱ、Ⅲ、Ⅳ
100、在室内正常环境下,钢筋混凝土构件的最大允许裂缝宽度为( )。
A.0.003mm
B.0.03mm
C.0.3mm
D.3mm
101、下列多层普通砖、多孔砖房屋构造柱的做法,错误的是哪一项?()
A.构造柱与墙连接处应砌成马牙槎,并应沿墙高每隔1000mm设2φ6拉结钢筋
B.构造柱与圈梁连接处,构造柱纵筋应穿过圈梁,保证构造柱纵筋上下贯通
C.构造柱最小截面尺寸可采用240mm×180mm
D.构造柱可不单独设置基础
102、在大跨度体育建筑设计中,以下何种结构用钢量最少?( )
A.悬挑结构
B.钢架结构
C.索膜结构
D.钢桁架结构
103、当构件截面由( )控制时,选用低合金钢可比选用强度较低的碳素钢节省钢材。
A.稳定性
B.刚度
C.强度
D.疲劳
104、混凝土结构设计规范规定:混凝土强度等级为C40时,偏心受压构件的受拉钢筋的最小百分率为0.2%。对于图示中的工形截面柱,其最小配筋面积应为( )。
A.As=(600×565-450×300)×0.2%=408mm2
B.As=150×600×0.2%=180mm2
C.As=(600×600-450×300)×0.2%=450mm2
D.As=150×565×0.2%=170mm2
105、提高砖和砂浆黏结强度的途径有哪些?( )Ⅰ.提高砂浆强度等级;Ⅱ.增加砖块大面上的粗糙度;Ⅲ.砌筑时砖的湿润程度保持最佳状态;Ⅳ.采用能使砖块交搭的水平齿缝段尽可能长的砌筑方式
A.Ⅰ、Ⅲ、Ⅳ
B.Ⅰ、Ⅱ、Ⅳ
C.Ⅰ、Ⅱ、Ⅲ
D.Ⅰ、Ⅱ、Ⅲ、Ⅳ
106、关于多层砌体房屋的抗震设计,下列说法中哪一项是错误的?()
A.建筑平面接近正方形时,其高宽比限值可适当加大
B.对带阁楼的坡屋面,房屋总高度应算到山墙的1/2高度处
C.单面走廊房屋的总宽度不包括走廊的宽度
D.房屋的顶层,最大横墙间距应允许适当放宽
107、什么情况下的高层建筑应考虑竖向地震作用?()
A.9度
B.均应考虑
C.8度
D.7度
108、关于抗震框架的纵向钢筋配置,下列说法中不正确的是()。
A.柱纵向钢筋的绑扎接头应避开柱端的箍筋加密区
B.截面边长大于400mm的柱,纵向钢筋间距不宜大于200mm
C.剪跨比不大于2的一级框架柱,每侧纵向钢筋配筋率不宜大于2.0%
D.边柱、角柱及抗震墙端柱在小偏心受拉时,柱内纵筋总截面面积应比计算值增加25%
109、在木结构房屋中,梁的耐火极限不应低于( )。
A.3.0h
B.2.0h
C.1.0h
D.0.5h
110、钢筋混凝土框架结构中的框架柱一般应按下列哪一种进行截面配筋计算?()
A.偏心受压构件
B.偏心受拉构件
C.轴心受压构件
D.根据具体情况方能按偏压或偏拉构件
111、预应力混凝土结构的预应力钢筋强度等级要求较普通钢筋高,某主要原因是下述中的哪一条?( )
A.使预应力混凝土构件获得更高的极限承载能力
B.使预应力混凝土结构获得更好的延性
C.预应力钢筋强度除满足使用荷载作用所需外,还要同时满足受拉区混凝土的预压应力要求
D.使预应力钢筋截面减小而有利于布置
112、关于砌体抗剪强度的叙述,下列中哪种正确?( )
A.与块体强度等级无关,与块体种类、砂浆强度等级有关
B.与块体种类无关,与块体强度等级、砂浆强度等级有关
C.与块体强度等级、块体种类、砂浆强度等级均相关
D.与砂浆种类无关,与块体强度等级、块体种类有关
113、关于钢筋混凝土高层建筑的层间最大位移与层高的比限值关系,下列哪项不正确?()
A.框架-抗震墙结构>抗震墙结构
B.抗震墙结构>框架-核心筒结构
C.框架结构>框架-抗震墙结构
D.框架结构>板柱-抗震墙结构
114、如图所示变形曲线,是下列4种结构中哪一种结构在水平荷载作用下的变形曲线?()
A.无梁楼盖结构
B.剪力墙结构
C.框架结构
D.框架-剪力墙结构
115、《建筑抗震设计规范》规定:同一结构单元不宜部分采用天然地基部分采用桩基。试问,如不可避免则宜()。
A.设伸缩缝
B.设沉降缝
C.设防震缝
D.设箱形基础
116、建筑物做抗震设计时可根据其重要性分为四类,一幢18层普通住宅应属于哪一类?()
A.乙类
B.丙类
C.甲类
D.丁类
117、下列关于框架-抗震墙结构和板柱-抗震墙结构中的抗震墙设置要求中,不恰当的是哪一项?()
A.楼梯间宜设置抗震墙,但不宜造成较大的扭转效应
B.抗震墙的两端(不包括洞口两侧)宜设置端柱或与另一方向的抗震墙相连
C.抗震墙洞口要上下对齐,洞边距端柱不宜小于100mm
D.房屋较长时,刚度较大的纵向抗震墙不宜设置在房屋的端开间
118、对于砌体结构,现浇钢筋混凝土楼、屋盖房屋,设置顶层圈梁,主要是在下列哪一种情况发生时起作用?()
A.发生温度变化时
B.在房屋中部发生比两端大的沉降时
C.发生地震时
D.在房屋两端发生比中部大的沉降时
119、图示钢筋混凝土肋形梁板结构楼面,板的自重及均布静荷载合计为5kN/m2。以下的静载下主梁的计算简图哪个正确?提示:梁自重忽略不计)( )
A.图
B.图
C.图
D.图
120、对焊接结构,为了使其有良好的可焊性,通常需限制钢材的含碳量不超过( )。
A.0.22%
B.0.60%
C.0.20%
D.1.7%
参考答案:
【一、单项选择题】
1~5 CBBDA 6~10 BBCDD
11~120点击安装“注册建筑师题库APP”查看答案
如果这样刷题不过瘾,请立即安装APP刷题,历年真题、高质量模拟题应有尽有。